摘牌退市!19人同日集体领罚
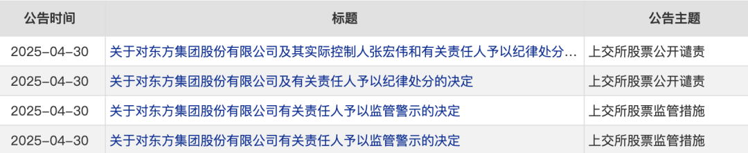
4月30日是*ST东方(600811)(原“东方集团”,代码:600811)A股终止上市的摘牌日。这一天,*ST东方及19名相关责任人因涉公司财务造假案被上交所处以监管警示和纪律处分。这也是继合计被处以3900万元罚款后,*ST东方及19名相关责任人再领罚单。
与此同时,因公司使用6.29亿元闲置募集资金临时补充流动资金未按时归还,上交所对*ST东方及时任董事长孙明涛予以公开谴责,对时任总裁李章彦予以通报批评,并对公司时任财务总监任成枢予以监管警示。
此前,上海证券报记者对*ST东方进行了深度报道,详见《“东方系”坍塌》《即将退市,明日停牌!神秘资金,末日抢筹!怎么回事?》。
百亿财务造假 19名责任人领罚
根据中国证监会查明的事实,2020年至2023年,*ST东方出于维持农产品贸易市场占有率、满足融资需求以及业绩考核等目的,通过人为增加业务环节或虚构业务链条等方式,长期开展农产品融资性贸易和空转循环贸易。公司四年间累计虚增营收161.3亿元、营业成本160.73亿元。
上交所认为,上述行为违反了证券法和《上海证券交易所股票上市规则》的相关规定。上交所决定对*ST东方及实际控制人张宏伟,时任总裁孙明涛,时任财务总监、副总裁党荣毅,时任董事会秘书康文杰,时任副总裁、董事戴胜利,时任董事、副总裁张惠泉,时任监事会主席吕廷福,时任监事刘艳梅予以公开谴责。
上交所同时公开认定张宏伟、孙明涛终身不适合担任上市公司董事、监事、高级管理人员,党荣毅5年不适合担任上市公司董事、监事、高级管理人员。
此外,上交所对*ST东方时任董事、总裁方灏,时任董事刘怡,时任副总裁田健,时任独立董事郑海英、陈守东、韩方明、金亚东,时任监事杨洪波、张义江、胡曾铮、佟欣予以监管警示。
根据此前公告,*ST东方及8名责任人将被合计处以3900万元的高额罚款。
对于上述纪律处分事项,在规定期限内,戴胜利未回复异议,视为无异议。*ST东方、实际控制人及其他责任人均回复异议。
其中,张宏伟提出,未组织、指使开展案涉业务,未直接参与公司经营活动,不知悉案涉业务实质,多次强调注重业务质量,不具有违法违规故意,对其以实际控制人身份要求承担责任不妥。
上交所认为,根据行政处罚决定书认定,张宏伟作为公司实际控制人,组织、指使公司2022年和2023年虚增营业收入和成本,导致公司相关年度报告存在虚假记载。
6.29亿元募资难还
*ST东方未按时归还募集资金也于同日受到监管处罚。
据悉,公司曾于2024年3月6日召开董事会会议和监事会会议,同意公司使用6.29亿元闲置募集资金临时补充流动资金,并仅限于与主营业务相关的生产经营使用,使用期限自董事会审议批准之日起不超过12个月。然而,公司未在前期披露的临时补流期限内按时归还募集资金,所涉金额较大,违反了相关规定。
对此,上交所对*ST东方及孙明涛予以公开谴责,对李章彦予以通报批评,并对任成枢予以监管警示。
那么,公司上述6.29亿元临时补充流动资金如何偿还?
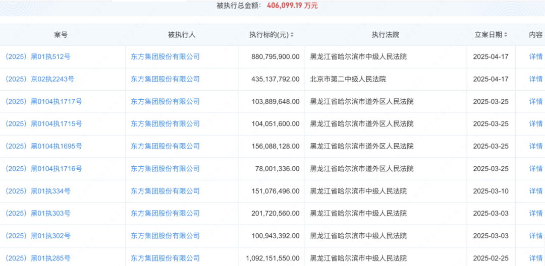
上海定达律师事务所律师盛一舟分析认为,企查查数据显示,截至目前,*ST东方累计被执行金额已高达40.61亿元。随着公司终止上市并摘牌,作为资本运作标的的“壳资源”价值已经丧失,以其现有经营状况和财务实力,几乎无法完成高额债务的清偿。
带着上述一连串的监管处罚,*ST东方也于4月30日正式摘牌,从A股离场。
另值得一提的是,*ST东方曾大额持股的ST锦港(600190)也面临退市危机。4月29日,ST锦港再次收到行政处罚事先告知书,认定公司在2022年至2024年第一季度再次出现财务造假行为。结合前次处罚认定的违规事实,公司已触及连续三年造假的重大违法强制退市风险警示情形,公司股票将被依规实施退市风险警示。业内人士认为,ST锦港已多重退市风险缠身,退市只是时间问题。
